What might in-store payments of the future look like?

Technologies of the future exist today—but consumer adoption will slow things down

If you had asked an expert five years ago to predict what payments would look like in 2017, chances are good they’d have cited huge growth in mobile wallet adoption, the death of traditional payment methods like cash and checks, and t-commerce as the newest shopping method. Two years ago, Tim Cook even deemed 2015 “the year of Apple Pay.” But looking back, less than 20 percent of Apple users even tried the payment platform, which few would agree constitutes a huge success, much less the “year” of Apple Pay. Similarly, checks remain alive and well — and few know what t-commerce even stands for.

The takeaway here is that old habits die hard, and innovations take time to take root. But some further-afield advancements—such as cashier-less stores, chip implants, and virtual shopping experiences—offer case studies in how to reduce the pain of paying (even if they cause headaches in other ways). These provide takeaways that are valuable for entrepreneurs building products in the space.

Grab your items and Go

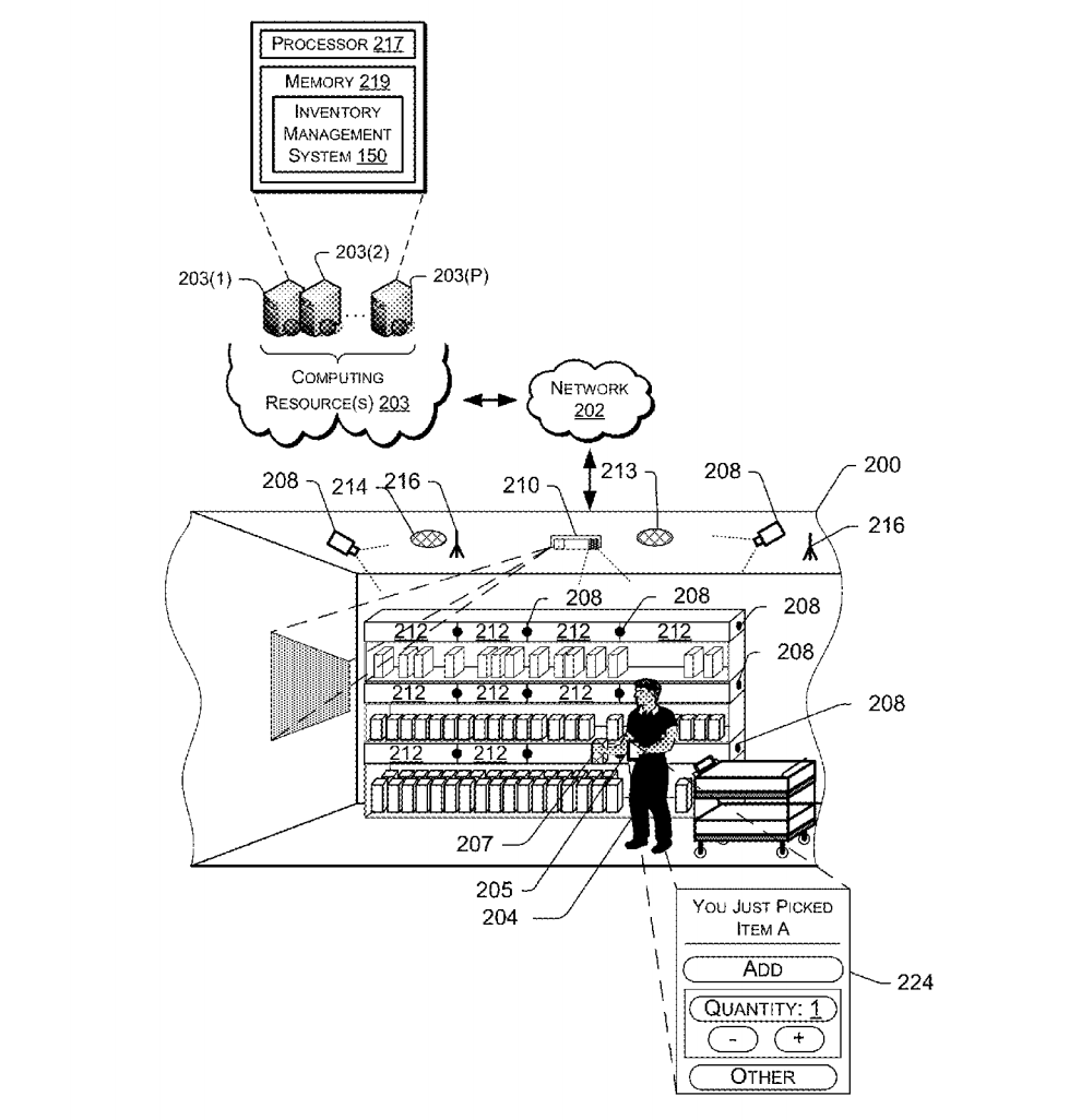
In today’s retail stores, any shopper leaving with items without stopping by the cashier would likely be chased by a security guard. Not so with Amazon Go, a store/tech hybrid (we’re still not sure what to call it) that made waves when it launched in private beta in December of 2016. In the 1,800-square-foot Seattle store, Amazon Go customers need only open and scan an app on their phones upon entry, pick up the items they want, and walk out. According to Amazon, the technology combines “computer vision, sensor fusion, and deep learning” to detect which items shoppers pick up. When they walk out, their Amazon accounts are charged for the total.

Amazon Go attempts to do for groceries what Uber did for ride hailing — at least in terms of how the user pays for the respective item or service. And in both cases, simplifying the payment experience isn’t just a nice-to-have: It’s a key part of the strategy to lure more buyers than the entrenched players. By virtue of being an online-only business until now, Amazon has by default taken the pain out of paying. But with Go, the challenge is to recreate that ease in an offline environment, which requires technological innovations the world has just begun to see.

A 2014 patent filing offers further details about what makes this magic possible. When a shopper enters the store, the computer system associates their account with a new shopping trip. When an item is picked up, the patent indicates that any of the following may be used to detect this action: “an image of the item captured by a camera when the item is picked by the user, a RFID tag detected by a RFID reader when the item is picked by the user, or a change in a weight measured at the inventory location when the item is picked by the user.” Precision is key: It has to detect when an item is returned to the shelf and be sure not to mix up items between shoppers in close proximity.

patent Amazon's aforementioned patent filing

Amazon Go itself is in early stages (and the idea of other retailers adopting the concept is even further off) — but still represents a revolutionary shift in what the retail experience could look like in the future. That said, despite the step-change in behavior, Amazon Go doesn’t do much to innovate payments themselves: Go shoppers are charged by Amazon as they would be for an online purchase, meaning a stored credit card is run for the appropriate amount and the following transfer of money happens just like it would in any other online transaction.

Next-level wearable technology

Practically as soon as near-field communication (NFC) became common in mobile payments, companies started investigating how to bring this technology even closer to one’s person.

NFC chips can now be implanted in the human body, essentially placing (literally) beneath the skin the technology that makes digital wallets such as Apple Pay possible. These tiny chips are about the size of a grain of rice and can also be used for other actions such as locking a door or turning on a car with the swipe of a hand. Using an implanted NFC chip to pay is just as simple, requiring nothing more than a tap of a chip to the NFC payment terminal (or rather, a tap of the body part in which the chip resides) — similar to how one might use Apple Pay, but without a phone.

These “subcutaneous spending devices,” might seem straight out of a science-fiction film. In reality, however, a number of people have already tested them; research shows that one in four Australians are at least slightly interested in having one implanted, and Visa and the University of Technology Sydney have announced a partnership to work on “wearable technologies.” Disney World has even rolled out something similar called the MagicBand; it’s a bracelet, so it’s certainly less invasive, but it has the same effect of allowing consumers to pay for things within the park with the tap of a wrist.

Unfortunately, not even a subcutaneous credit card can protect a user from fraud. According to one information security expert, the threat of hacked NFC chips is real, and preventing such attacks may require technology that’s not yet available, such as the ability to add a passcode or PIN to a device in a person’s palm.

Make no mistake — these chips won’t be mainstream anytime soon, with one manufacturer openly acknowledging that their current market is a “handful of dedicated geeks.” And if we’ve learned anything about the slow adoption of digital wallets, it’s that consumers aren’t dissatisfied enough with current payment technology to adopt something new in exchange for incremental improvements in efficiency. But when consumer demand does eventually catch up, the technology will certainly be ready — and in the meantime, entrepreneurs can count on early adopters to be enthusiastic about these new advances .

Skip the physical store entirely

Many shoppers hate the experience of being in a retail store, and virtual reality (VR) might eventually allow them to shop for everything — and try on clothes — from the comfort of home. China’s online retailer Alibaba recently debuted a three-dimensional store that allows consumer a near-complete VR shopping experience. In its current state, shoppers can select their items in the VR store, but must go online or to a physical store to make the final purchase.

In an effort to give users a completely immersive VR shopping experience, however, Alibaba is working on a “VR-driven payment tool,” which would move the entire shopping experience (apart from order fulfillment) to a virtual environment. The technology, called Buy+, verifies the user via logins on connected devices or voice recognition, and authentication requires a password entered by “head movements, touch, or by staring at a point on virtual display for longer than 1.5 seconds.” In the Buy+ world, not only can shoppers browse for, try on, and select their items — they can also pay for them and do so securely based on biometric markers.

Keep your credit cards… for now

Though the slowness of the underlying payment infrastructure can stymie certain innovations, it’s important to keep in mind that the consumer experience of payments is another important piece of the puzzle — even if a shiny new experience is coupled with the same old backend. And, in many cases, this is where we see the most significant leaps forward, from biometric markers in VR to NFC chip implants. At the same time, however, for consumer products to take hold, consumers have to start using them, and we have a long way to go before that happens for the above technologies. But keep an eye on what gains traction and what falls behind, as these are the innovations that will determine how payments look not just next year, but in decades to come.

Related Articles

Who’s winning the digital wallet wars

And is anyone making money on it?

7 Min Read

How Starbucks won mobile payments

Relying on loyalty and simplicity—a 2D barcode—helped the coffee giant crack the mobile payments code

5 Min Read

How does NFC payment work?

The burgeoning technology used for tap-and-go payment relies on radio waves and electromagnetic fields

5 Min Read

Related articles

What is direct debit?

3 Min Read

How does NFC payment work?

5 Min Read

How does PayPal work?

4 Min Read
More Articles